AQUELLA PRIMERA COMPUTADORA ELÉCTRICA DE 1887
Charles Sanders Peirce (1839-1914) fue una figura sobresaliente en la historia del pensamiento de Occidente. Mi interés por este científico, filósofo y matemático estadounidense se despertó unos diez años atrás; hace dos, comencé a dedicarle algo de mi tiempo –por supuesto, mucho menos de lo que su compleja obra merece. Un colega, abocado al estudio de Peirce, me facilitó un artículo de K.L. Ketner, destacado comentarista de este autor. Allí compara –y equipara– algunos aspectos de la obra de Peirce con la de Turing (1912-1954), matemático, filósofo, y padre de la computación moderna.1 A Turing también le dediqué algo de mi tiempo estos últimos años, así que sobraban razones para que me lanzara con entusiasmo sobre el artículo de Ketner. Antes de iniciar la lectura me pregunté si además de todo aquello Peirce también había estado involucrado en proyectos ingenieriles vinculados con las tecnologías computaciones: ¿había anticipando algunas de las ideas que más tarde cristalizaría la obra de Turing?; y si así fue, ¿se trató de un interés aislado, i.e., desconectado del resto de sus estudios?; ¿o por el contrario, sus notables avances en el terreno de la lógica, así como sus reflexiones sobre la naturaleza de las matemáticas, estaban enlazados metodológica y conceptualmente con sus exploraciones en el campo de las tecnologías de cómputo?
Máquinas Lógicas
Benjamin Peirce, padre de la criatura, había viajado a Europa fascinado por las ideas y diseños del científico británico Charles Babbage. Lo acompañó un astrónomo y matemático egresado de Harvard llamado Benjamin A. Gould. Su nombre está seguramente grabado en alguna placa de la capital cordobesa, pues fue director entre 1871 y 1885 del Observatorio Córdoba. Se dice que fue precisamente Benjamin Gould quien intercambió en persona con Babbage.2 Éste le habría brindado asesoramiento sobre un tipo de máquinas llamadas “diferenciales” que permitían realizar cálculos matemáticos muy sofisticados y a gran escala. Babbage había realizado los diseños de estas máquinas diferenciales en el año 1822. En el año 1859 Peirce padre y Gould adquieren una máquina diferencial de Babbage construida por Georg y Edvard Scheutz de Suecia. Quien tenga interés en conocer este motor diferencial deberá realizar una visita al Dudley Observatory, en New York.
A través de su padre el joven Charles Peirce estaba al tanto de las últimas innovaciones en el campo de las tecnologías de cómputo. Tras el fallecimiento de Babbage en 1871, Charles Peirce expresó con estas palabras su admiración por el ingeniero inglés en The Nation –un periódico de cultura general de los Estados Unidos:
“Hacia 1822 fabricó su primer modelo de máquina calculadora. Fue un ‘motor diferencial’ (…) Descubrió la posibilidad de un nuevo motor analítico, para el cual el motor diferencial no era nada; éste sería capaz de hacer todo el trabajo aritmético de aquél, pero infinitamente más (…) el motor analítico es, sin lugar a dudas, la obra más estupenda de la invención humana. Es tan complicado que la mente de ningún hombre podría rastrear la forma de su funcionamiento a través de dibujos y descripciones…”.3
En el pasaje citado Charles Peirce destaca lo que muchos consideran que fue la primera computadora de propósito general de la historia: el motor analítico –el cual nunca llegó a ser construido.
Entre 1879 y 1884 Peirce ejerció como profesor de lógica en la universidad Johns Hopkins donde dirigió los estudios de Allan Marquand (1853-1924). Marquand merece sin duda una nota aparte. Aquí solamente destacaré su notable aporte para el desarrollo de computadoras. Entre 1881-1882 Marquand diseñó una versión mejorada de una máquina lógica que había realizado el economista inglés William Jevons en 1866. Los detalles fueron publicados por Marquand en 1886 en un artículo titulado A New Logical Machine. Fue recibida con cierta indiferencia por la comunidad universitaria de entonces. Por el contrario, en un artículo titulado “Logical Machines” –publicado en 1887, i.e., un año después de la publicación de Marquand– Charles Peirce reseñó positivamente la máquina lógica diseñada por Marquand:
“La máquina del Sr. Marquand es un invento mucho más lúcido que la de Jevons. La naturaleza del problema se ha comprendido con mayor maestría, y se han elegido los medios más directos posibles para su solución. (…) Las máquinas del Sr. Marquand, incluso con sólo cuatro letras, facilitan el tratamiento de problemas con más letras…” (pp. 626, 631).
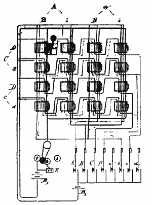
Un detalle de interés, que recuperaré hacia el final de esta nota, es que las exploraciones de Marquand en el terreno de las máquinas lógicas tuvieron lugar en el marco de sus investigaciones sobre la historia de la lógica, investigaciones realizadas bajo la supervisión de Charles Peirce. Otro detalle, poco resaltado en las divulgaciones sobre el origen de la computación moderna, es que en una carta a Marquand de 1886 Charles Peirce sugirió, a fin de mejorar el diseño propuesto por su pupilo, el uso de energía eléctrica para reemplazar los mecanismos del diseño original –palancas, cuerdas de tripa y resortes, etc. Medio siglo más tarde, alrededor del año 1950, Alonzo Church –un personaje clave en la creación de la teoría computacional moderna– encontró en los archivos de Marquand en la Biblioteca Firestone de Princeton el diseño sin firma de una máquina lógica eléctrica. Naturalmente fue adjudicado a Marquand, pero las investigaciones de Ketner ofrecen argumentos sólidos para dar alto crédito a la hipótesis de que fue Charles Peirce el autor de dicho diseño (fig. 1). De ser así, la primera computadora o máquina lógica veritativo-funcional –concluye Ketner– habría sido creada en Estados Unidos por Charles Sanders Peirce hacia fines de 1886, principios de 1887.4

Figura 1: Diagrama con el circuito electromagnético de una Máquina Lógica
El interés filosófico por las máquinas lógicas
Ketner destaca que para Peirce la lógica de relaciones, una de las creaciones más importes de su carrera –y pieza clave para el diseño de los problemas que dieron origen a la teoría de la computación–, no era solamente un lenguaje simbólico que codificaba el razonamiento deductivo. Peirce entendía a la lógica en un sentido más amplio, y muchas cuestiones que hoy atribuimos al campo de la epistemología para nuestro autor formaban parte del estudio de la lógica.
Por otra parte, el diseño y modelado de máquinas lógicas también formaba parte del estudio de la lógica. De hecho, Charles Peirce consideraba que estas máquinas daban cuenta de un salto cualitativo respecto de otras tecnologías de cómputo como las máquinas calculadoras –e.g., la ‘pascalina’, la calculadora de Leibniz o el propio motor diferencial de Babbage– dado que estas últimas, a diferencia de las máquinas lógicas, eran ‘máquinas particulares’. Por este motivo, las máquinas lógicas significaban un importante paso para el desarrollo de la ciencia; y cada nuevo paso contenía una lección de la que la lógica debía tomar nota. ¿Qué nos enseñaba la creación de máquinas lógicas acerca del proceso de razonamiento? De acuerdo con Peirce “el valor de las máquinas lógicas parece residir en que muestran hasta qué punto el razonamiento es un proceso mecánico y hasta qué punto requiere actos de observación”.5
Peirce distingue aquí el proceso de razonamiento que puede ser traducido a y ejecutado por un mecanismo, del proceso de razonamiento que requiere de ‘actos de observación’ propios de una ‘mente viva’.6 Este último proceso de razonamiento deriva conclusiones necesarias yuxtaponiendo el razonamiento estrictamente deductivo –aquél que la lógica reduce a reglas formales y que puede realizarse en forma mecánica– con otras facultades como la visión o el tacto:
El razonamiento no se realiza con el cerebro por sí solo, sino que requiere la cooperación de los ojos y las manos. Razonar (…) es una forma de experimentación en la que, en lugar de confiar en las leyes inteligibles de la naturaleza externa para obtener el resultado, dependemos de las leyes, igualmente ocultas, de la asociación interna. Lo inicié [a un alumno] en el arte de esta experimentación. Lo familiaricé con el uso de todo tipo de diagramas y recursos para estimular la imaginación.7
Razonar con diagramas, esquemas, maquetas bi o tridimensionales y otros artefactos es propio de una mente viva. Parte de este complejo y multidimensional proceso de razonamiento puede ser llevado a cabo utilizando una máquina como la de Babbage, Jevons o Marquand: discernir qué parte le corresponde a una máquina y qué parte a una mente viva es entonces un importante tema de investigación para el desarrollo de la lógica.8 De ahí el interés de Charles Peirce por el estudio de la historia de esta disciplina, la cual muestra el desenvolvimiento de una mente que por sí sola, es decir, desprovista de artefactos, no llegaría demasiado lejos.
Finalmente, Charles Peirce argumentó que la principal impotencia de una máquina lógica consiste en que está desprovista de toda originalidad e iniciativa: no es capaz de encontrar sus propios problemas como lo hace una ‘mente viva’ –y por ello está desprovista de originalidad; y, en un punto ideal, una máquina lógica debe responder exactamente a aquello para lo que fue programada –y por ello, carece de toda iniciativa.9
*
Peirce no suele formar parte de la mesa de notables que hicieron posible la computación moderna. Su apellido, por caso, fue ignorado por Martin Davis, matemático y computólogo nacido justamente en los Estados Unidos, quien en el año 2000 publicó un ambicioso libro sobre el origen de la computación titulado La máquina universal: de Leibniz a Turing.
Al igual que Leibniz y Turing, Peirce se preocupó por comprender el razonamiento humano y por definir en qué consiste un procedimiento mecánico. También al igual que aquéllos, diseñó máquinas en el marco de sus reflexiones sobre la naturaleza del razonamiento matemático. Los tres miraron cuidadosamente hacia atrás, antes de dar un salto hacia el futuro.
La historia de las ciencias y de la tecnología sigue siendo una materia pendiente en las Casas de Altos Estudios de nuestro país.
1Ketner, K. L. (1988). “Peirce and Turing comparisons and conjectures”. Semiotica 68-1 (1988), 33-61. Mouton de Gruyter, Amsterdam.
2Ketner sugiere que fue Benjamin Gould quien habría intercambiado cara a cara con Charles Babbage.
3Ketner, K. L. (1988), p. 35.
4Ketner, K. L. (1984), “The Early History of Computer Design. Charles Sanders Peirce and Marquand’s Logical Machines”. The Princeton University Library Chronicle. 45(3):187. DOI: 10.2307/26402393, p. 211.
5Peirce, C. S. (1889), “Definitions in The Century Dictionary and Cyclopedia”, W. D. Whitney (ed.). New York: The Century Company.
6Peirce, C. S. (1887), “Logical Machines”. American Journal of Psychology, p. 625.
7Carta de Peirce a J. M. Hantz, 29 de marzo de 1887.
8Cf. Peirce, C. S. (1887), Ibid., p. 625.
9Cf. Peirce, C. S. (1887), Ibid., p. 630.
Comments are closed.